Tabak-Maschinenkette ist speziell für die Tabakindustrie. Die von unserem Unternehmen entwickelte spezielle Tabakmaschinenkette kann zum erneuten Trocknen, zur Schranklagerung, zur Zuführung usw. verwendet werden. Wir liefern hochwertigen Tabak Ketten aufgrund der guten Kommunikation zwischen uns und den Designern und Benutzern von Tabakmaschinen, die uns ein besseres Verständnis des Tabakherstellungsprozesses und der Ausrüstung ermöglicht


Tabakmaschinen Seitenketten
| Kettennummer | Tonhöhe (Pitch) | Der innere Abschnitt des Innendurchmessers | Rollendurchmesser | Plattentiefe | Plattendicke | Pin | Anhang | Zugfestigkeit | |||
| P | b | d1 | H | T | d2 | F | F1 | F2 | d3 | Q | |
| mm | mm | mm | mm | mm | mm | mm | mm | mm | mm | KN | |
| YJ762-P-K3 | 76.2 | 25.8 | 38.1 | 25 | 4.8 | 11.1 | 44.7 | 35 | 30.0 | 7 | 85 |

| Kettennummer | Tonhöhe (Pitch) | Der innere Abschnitt des Innendurchmessers | Rollendurchmesser | Plattentiefe | Plattendicke | Pin | Anhang | Zugfestigkeit | |||
| P | b | D | h1 | h | T | d2 | F | L | d3 | ||
| mm | mm | mm | mm | mm | mm | mm | mm | mm | mm | KN | |
| YJ762-P-M1 | 76.2 | 15 | 10.0 | 32.0 | 25.0 | 4.0 | 9.0 | 44.25 | M8 | 86.7 | |
| YJ80-P-K2 | 80.0 | 14.6 | 30.0 | 14.0 | 20.0 | 3.2 | 7.0 | 36.80 | 22.0 | 7.0 | 30.0 |
| YJ120-F-K3 | 120.0 | 28.0 | 50.0 | 20.0 | 40.0 | 5.0 | 12.0 | 39.0 | 50.0 | 7.0 | 135.0 |

| Kettennummer | Tonhöhe (Pitch) | Der innere Abschnitt des Innendurchmessers | Rollendurchmesser | Plattentiefe | Plattendicke | Pin | Anhang | Zugfestigkeit | |||
| P | b | d1 | h1 | h2 | T | d2 | F | L | d3 | Q | |
| mm | mm | mm | mm | mm | mm | mm | mm | mm | mm | KN | |
| YJ50-P-K2 | 50 | 15.0 | 31.0 | 5.5 | 27.0 | 4.0 | 10.5 | 31.0 | 15.0 | 6.5 | 55.0 |
| YJ762-P-M8K1 | 76.2 | 23.0 | 32.0 | 10.0 | 25.0 | 4.0 | 9.0 | 44.25 | - | M8 | 86.7 |
| YJ150-P-K2 | 150.0 | 22.0 | 40.0 | 7.8 | 30.0 | 4.8 | 11.0 | 45.8 | 32.0 | 10.5 | 124.6 |
| YJ152-P-K2 | 152 | 18.0 | 47.5 | 7.8 | 40.0 | 4.8 | 11.1 | 43.8 | 32.0 | 10.5 | 124.6 |

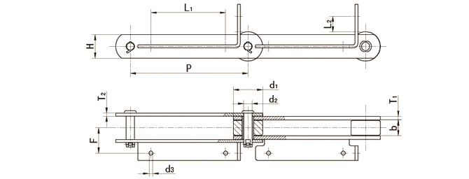
| Kettennummer P | Tonhöhe (Pitch) | Rollendurchmesser | Plattentiefe | Stärke der inneren Kettenplatte | Dicke der äußeren Kettenplatte | Pin | Zubehörabmessungen | Zugfestigkeit | |||
| b | d1 | H | T1 | T2 | d2 | F | L1 | L2 | d3 | ||
| Q | |||||||||||
| 200 | 200 | 50 | 40 | 6 | 5 | 14.27 | 43 | 127 | 27 | 7 | 100 |