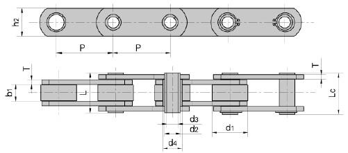
MC-Serie Förderungskette umfasst vier Typen und die Hauptspezifikation ist MC28, MC56, MC112, MC224 usw.

| Kettennummer | Bruchlast Q (kN) | Abstand P mm | Breite zwischen Innenplatte B1 Min. Mm | Stiftdurchmesser | Stiftlänge | Plattendicke T Max mm | Plattentiefe H2 Max mm | Buchsendurchmesser D4 Max mm | Rollenabmessung | ||||||
| D2 Max mm | D3 Min mm | L Max mm | Lc Max mm | D1 Max mm | D7 Max mm | D5 Max mm | B11 Max mm | ||||||||
| MC28 | 28 | 63 | 20.0 | 13.0 | 8.2 | 36.0 | 38.5 | 3.5 | 25.0 | 17.5 | 36.0 | 25.0 | 45.0 | 4.5 | |
| 80 | |||||||||||||||
| 100 | |||||||||||||||
| 125 | |||||||||||||||
| 160 | |||||||||||||||
| MC56 | 56 | 80 | 24.0 | 15.5 | 10.2 | 45.0 | 47.5 | 4.0 | 35.0 | 21.0 | 50.0 | 30.0 | 60.0 | 5.0 | |
| 100 | |||||||||||||||
| 125 | |||||||||||||||
| 160 | |||||||||||||||
| 200 | |||||||||||||||
| 250 | |||||||||||||||
| MC112 | 112 | 100 | 32.0 | 22.0 | 14.3 | 62.5 | 64.3 | 6.0 | 50.0 | 29.0 | 70.0 | 42.0 | 85.0 | 7.0 | |
| 125 | |||||||||||||||
| 160 | |||||||||||||||
| 200 | |||||||||||||||
| 250 | |||||||||||||||
| 315 | |||||||||||||||
| MC224 | 224 | 160 | 43.0 | 31.0 | 20.3 | 83.0 | 85.5 | 8.0 | 70.0 | 41.0 | 100.0 | 60.0 | 120.0 | 10.0 | |
| 200 | |||||||||||||||
| 250 | |||||||||||||||
| 315 | |||||||||||||||
| 400 | |||||||||||||||
| 500 | |||||||||||||||